Электрозапальник газовый

ЭЛЕКТРОЗАПАЛЬНИК ГАЗОВЫЙ ЭЗ
Предназначен для дистанционного розжига горелок котлоагрегатов, работающих на газообразном, жидком топливах, стационарных и передвижных котельных агрегатов, термоагрегатов и технологических установок с использованием горелочных устройств. Отличается большой мощностью. Имеет более устойчивый к отрыву факел. Перфорация на торце запальника обеспечивает стабильное смешение газа и воздуха
Технические характеристики
|
Рабочая среда |
Природный, сжиженный газ, пропан-бутановая смесь |
|
Присоединительное давление газа перед запальной горелкой, МПа |
(0,001 - 0,25) |
|
Тепловая мощность при работе на природном и сжиженном газе, на смеси пропан-бутан, кВт, не более |
100 |
|
Длина факела при отрегулированном режиме горения, м, не менее |
0,8 |
|
Диаметр входного штуцера, мм |
13 |
|
Габаритные размеры, мм, не более: - длина - ширина - высота - погружная часть |
500; 800; 1400; 2000 130 175 280; 580; 1180; 1780 |
|
Масса, кг, не более длиной - 500 - 800 - 1400 - 2000 |
3,0 4,5 11,5 13,1 |
ИСПОЛНЕНИЯ
|
Исполнение |
Длина электрозапальника, мм |
|
-00 |
500 |
|
-01 |
800 |
|
-02 |
1400 |
|
-03 |
2000 |

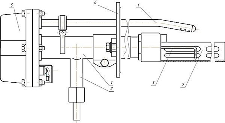
ЭЗ состоит из ствола 1 со штуцером 2 для подвода газа, центрального электрода 3, стабилизатора пламени 7, контрольного электрода 4, коробки 5 с тремя клеммами и фланца 6. Для регулирования процесса горения запальника под гайку штуцера устанавливается дроссельная шайба, диаметр отверстия шайбы подбирается в зависимости от давления газа (1,2 - 2 мм). Контрольный электрод служит для контроля наличия собственного факела запальника. Принцип работы основан на передаче сигнала пропорционального изменению электропроводимости в цепи: КОНТРОЛЬНЫЙ ЭЛЕКТРОД - ЗАПАЛЬНЫЙ ФАКЕЛ - СТАБИЛИЗАТОР ЗАПАЛЬНИКА к сигнализатору горения (например ЛУЧ-1 АМ). Контрольный электрод устанавливается на трубе запальника с помощью хомута с изоляционным вкладышем, а его конец крепится в коробке 5, выполненной из электроизоляционного материала. Установка контрольного электрода в установочной трубе горелки должна исключать возможность замыкания его с установочной трубой, запальником и другими заземленными частями горелки или котла.
Электрозапальник газовый ЭЗ-Н

Применение
Предназначен для автоматического и дистанционного розжига горелочных устройств, работающих на газообразном топливе.
Электрозапальник ЭЗ-Н осуществляет:
-
воспламенение поступающего в него газа;
-
Технические данные
Диапазон давления подводимого газа: от 0,0008 до 0,05 МПа.
Максимальная температура поступающего газа: +50°С.
Искровой зазор: 2÷3 мм.
Допустимое напряжение, подводимое к запальнику для воспламенения газа: 10 000 В.
Температура в зоне стабилизатора: от 700 до 900°С.
Температура окружающего воздуха при относительной влажности 80%: от 5 до 50°С.
Исполнение Са2.769.008
L, мм
Наличие КЭ
Масса, кг
-
500
-
2,8
-01
800
-
4,6
-02
1400
-
7,9
-03
2000
-
10,2
-06
540
+
3,0
-07
840
+
4,9
Электрозапальник газовый модернизированный ЭЗ-МЗ

Применение
Предназначен для автоматического и дистанционного розжига горелочных устройств, работающих на газообразном топливе.
Электрозапальник ЭЗ-МЗ осуществляет:
- формирование импульсов высокого напряжения с помощью встроенного устройства зажигания;
- воспламенение поступающего газа;
- контроль собственного пламени (в исполнениях с КЭ
-
Технические данные
Питание: 220 В, 50 Гц.
Потребляемая мощность, не более: 35 ВА.
Диапазон давления подводимого газа: от 0,0008 до 0,05 МПа.
Искровой зазор: 2÷3 мм.
Максимальная температура поступающего газа: 50°С.
Температура в зоне стабилизатора: от 700 до 900°С.
Длина провода для подключения к сети: 2 м.
Исполнение Са2.769.008
L,* мм
Наличие КЭ
Масса, кг
-
500
-
2,9
-01
800
-
4,8
-02
540
+
3,1
-03
840
+
5,0