Устройство терморегулирующее дилатометрическое электрическое ТУДЭ-**М1
|
Диапазон регулирования температур (-60 ... +500) °С. Применяется во всех отраслях промышленности. Принцип действия ТУДЭ основан на пропорциональной разности приращения длин чувствительной трубки и стержня изменению температуры регулируемой среды. Полученное приращение преобразуется в мгновенно возникающее действие контактного механизма, с помощью которого размыкаются (замыкаются) контакты. ТУДЭ состоит из следующих основных узлов: - дилатометрического элемента. - контактного устройства. - узла настройки задания. ТУДЭ изготавливается с размыкающими «Р» или замыкающими «З» контактами. - защищённые от попадания внутрь изделия пыли и воды со степенью защиты IP54; - взрывозащитные IExdIIBT4. Устройства терморегулирующие выпускаются 12-ти модификаций в зависимости от диапазона регулирования температур: от ТУДЭ-1М1 до ТУДЭ-12М1 Отличительные особенности модификаций: - ТУДЭ-1М1, ТУДЭ-2М1, ТУДЭ-3М1, ТУДЭ-4М1, ТУДЭ-5М1 устанавливаются дилатометрическим чувствительным элементом в среде, не вызывающей коррозии латуни Л63 ГОСТ 15527-70; - ТУДЭ-6М1, ТУДЭ-7М1, ТУДЭ-8М1, ТУДЭ-9М1, ТУДЭ-10М1, ТУДЭ-11М1 ТУДЭ-12М1 в среде не вызывающей коррозии стали 10Х23Р18 ГОСТ 15527-70. ТУДЭ коммутирует: - цепи переменного тока напряжением 250(+25/-37,5) В, частотой 50…60 Гц, силой тока: от 1,0 до 15 А при омической нагрузке; от 0,1 до 2 А при индуктивной нагрузке с cos f > 0,5; - цепи постоянного тока напряжением 220(+22/-33) В, силой тока от 0,1 до 4 А при омической нагрузке. По защищенности от влияния окружающей среды устройства имеют исполнения: защищенные от попадания внутрь изделия пыли и воды со степенью защиты ІР54, взрывозащищенные ІЕхdIIBТ4. Основные технические данные:
.
ТЕХНИЧЕСКОЕ ОПИСАНИЕ И ИНСТРУКЦИЯ ПО ЭКСПЛУАТАЦИИ В связи с постоянной работой по совершенствованию изделия, повышающей его надежность и улучшающей условия эксплуатации, в конструкцию могут быть внесены незначительные изменения. 1. НАЗНАЧЕНИЕ Устройства терморегулирующие дилатометрические ТУДЭ М1 предназначены для регулирования температуры жидких и газообразных сред в системах автоматического контроля и регулирования при статическом давлении до 6,4 МПа (64 кгс/см2). По защищенности от воздействия окружающей среды устройства имеют исполнения: защищенные от попадания внутрь изделия пыли и воды со степенью защиты IP54. Устройства взрывозащищенные должны иметь взрывобезопасный уровень взрывозащиты, вид взрывозащиты «IExdIIBT4» и могут применяться во взрывоопасных зонах помещений и наружных установках, в которых по условиям эксплуатации могут образовываться взрывоопасные смеси газов или паров воздуха. Устройства ТУДЭ 1М1 - ТУДЭ 5М1 устанавливаются дилатометрическим чувствительным элементом в среде, не вызывающей коррозии латуни Л63; ТУДЭ 6М1, ТУДЭ 8М1 - ТУДЭ 12М1 - в среде, не вызывающей коррозии стали 12Х18Н10Т; ТУДЭ 7М1 - в среде, не вызывающей коррозии стали 10Х23Н18. При необходимости чувствительный элемент устройств можно смонтировать в защитном кожухе, изготовленном из любого материала, стойкого в регулируемой среде. 2. ТЕХНИЧЕСКИЕ ДАННЫЕ Условное обозначение и основные параметры ТУДЭ М1 приведены в таблице 1. ТУДЭ М1 изготавливаются с размыкающими «Р» или замыкающими «З» контактами. Предел допускаемой основной погрешности по шкале дифференциала до 3°С не должен превышать от плюс 2°С до минус 1°С, свыше 3°С до 7°С - ± 3°С, а свыше 7°С - ± 4°С. Устройства устойчивы к воздействию температуры окружающего воздуха от минус 50 до плюс 120°С и относительной влажности до 98% при температуре 25°С и более низких температурах, без конденсации влаги для эксплуатации в районах с умеренным климатом и относительной влажностью до 98% при температуре 35°С и более низких температурах, без конденсации влаги для эксплуатации в районах с тропическим климатом. Изменение основной погрешности срабатывания ТУДЭ М1 при настройке по шкале задания при температуре окружающего воздуха, отличной от 20±5°С до любой температуры в пределах от минус 50 до плюс 120°С, не превышает 0,25% от диапазона регулирования на каждые 10°С изменения температуры окружающего воздуха. Показатель тепловой энергии, определенный при коэффициенте теплоотдачи, практически равном бесконечности, не превышает 10 с для воды. Таблица 1.
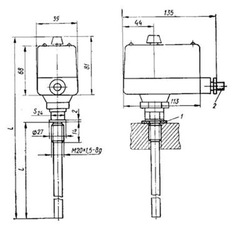
Устройства ТУДЭ М1 выдерживают температурную перегрузку до 10% от диапазона регулируемых температур. Контактное устройство ТУДЭ М1 коммутирует: цепи переменного тока напряжением 250 +25/-37,5 В, частотой 50-60 Гц, силой тока от 0,1 до 15 А при омической нагрузке и от 0,1 до 2 А при индуктивной нагрузке соs φ≥0,5; цепи постоянного тока напряжением 220 +22/-33 В, силой тока от 0,1 до 4 А при омической нагрузке. Рис. 1. Габаритные и присоединительные размеры устройств
ТУДЭ М1 со степенью защиты ІР54: 1 – прокладка; 2 – кабель.
|
|||||||||||||||||||||||||||||||||||||||||||||||||||||||||||||||||||||||||||||||||||||||||||||||||||||||||||||||||||||||||||||||||||||||||||||||||||||||||||||||||||||||||||||||||||||||||||||||||||||||||||||||||||||

